Подбор сечения составных колонн из условия устойчивости
Пример 1.
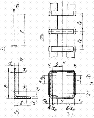
Для составной
колонны, состоящей из четырех неравнобоких уголков, схема закрепления которой
показана на рис. а, требуется:
подобрать номер уголка, определить расстояние
и
, выбрать размеры соединительных планок и
вычислить коэффициент запаса устойчивости колонны, полагая Р=1000
кН,
,
, материал Ст.3.

Решение.
1) Подбор
номера прокатного профиля
Подбор поперечного сечения производят из условия устойчивости колонны относительно главной центральной оси с минимальным моментом инерции площади сечения. Для заданной колонны такой осью является ось Х (рис. г), так как относительно другой главной оси Y, момент инерции может быть изменен путем раздвижения или сближения ветвей колонны.
В случае если составные профили сечения могут раздвигаться относительно обоих главных центральных осей, минимально необходимый момент инерции сечения определяют по формуле Эйлера для критической силы, добавив в нее нормативное для данного материала значение коэффициента запаса устойчивости:
,
где Р – действующая нагрузка на стержень.
По вычисленной величине Imin, с учетом количества профилей, выбирают из сортамента необходимый номер профиля, и затем проводят проверку устойчивости колонны.
Минимально необходимую площадь поперечного сечения определяют из условия устойчивости колонны:
,
где
- коэффициент
продольного изгиба, уменьшающий допускаемое напряжение в стойке при расчете на
устойчивость.
В расчетной
формуле одновременно два неизвестных: А и
. Поэтому, расчет ведем методом проб.
Первый цикл
расчета. Задаем коэффициент
=0,5. Находим требуемую площадь поперечного сечения колонны.
![]()
На долю одного уголка придется
125/4=31,25 см2
По таблицам
сортамента неравнобоких уголков (ГОСТ 8510–86) выбираем уголок № 18/11, у
которого
,
,
,
(обозначение осей и
размеров даны на рис. б).
Вычисляем момент инерции уголка относительно оси х (рис. г):
![]()
Находим наименьший радиус инерции поперечного сечения колонны:
![]()
Вычисляем гибкость
,
где
коэффициент приведения
длины зависящий от формы закрепления.
По таблице
снижения коэффициентов снижения допускаемого напряжения (справочные
данные), находим коэффициент
:
.
Проверяем прочность колонны
![]()
Перенапряжение составляет
![]()
Что не
допустимо. Второй цикл расчета. Принимаем значение коэффициента![]()
Находим требуемую площадь
![]()
На долю одного уголка придется
152,44/4=38,11см2
По таблицам
сортамента берем уголок №20/12,5, у которого
,
,
,
.
Вычисляем момент и радиус инерции уголка относительно оси x:
.
.
Тогда
.
По таблице
коэффициентов снижения допускаемого напряжения (справочные
данные) с помощью линейной интерполяции находим коэффициент
:
![]()
|
|
130 |
140 |
134 |
|
|
0,40 |
0,36 |
0,384 |
Проверяем прочность колонны
.
Перенапряжение составляет
![]()
При небольшом
пере- и недонапряжении (в пределах 10-20%) удобнее варьировать номером профиля.
Возьмем уголок с большей площадью №20/12,5, у которого
,
,
,
,
,
,
,
.
Находим
![]()
.
Гибкость колонны
![]()
По таблице
коэффициентов снижения допускаемого напряжения с помощью линейной интерполяции
находим
![]()
|
|
130 |
140 |
135 |
|
|
0,40 |
0,36 |
0,38 |
Проверяем прочность колонны
![]()
Недонапряжение составляет
![]()
С более подходящей площадью поперечного сечения уголка в сортаменте нет. Поэтому окончательно принимаем уголок 200х125х14 мм, хотя при этом стойка работает с недонапряжением более 5%.
2)
Определение расстояния между ветвями и соединительными планками колонны.
Подсчет числа соединительных планок.
Чтобы стойка была одинаково устойчива в главных плоскостях инерции, необходимо выполнить условие
Т.е.

Расстояние
между соединительными
планками определяется из условий, что
гибкость отдельной ветви между соединительными планками не должна превосходить
гибкость колонны в целом:
.
Участок колонны между планками условно считаем шарнирно опертым. Тогда получим
![]()
Где
минимальный радиус инерции уголка, берется из сортамента.
Подсчитаем число пролетов между планками в колонне:
![]()
Принимаем по 3 планки с каждой стороны стойки. В нижнем сечении она не нужна из-за жесткой заделки.
3) Выбор
размеров соединительных планок.
Размеры соединительных планок принимают из следующих общепринятых конструктивных соотношений:
,
где В - длина планки, в - ширина полки уголка, Н – высота планки,
- толщина планки, d - толщина полки уголка.
![]()
4)
Вычисление коэффициента запаса устойчивости колонны.
Поскольку
гибкость колонны
при вычислении критического напряжения воспользуемся формулой
Эйлера:
![]()
Находим коэффициент запаса устойчивости
,
где
- нормальное напряжение сжатия колонны.
Для стальных
стержней строительных конструкций
,для
деревянных
, чугунных
, для элементов машиностроительных конструкций
.
Пример 2.
Для стальной
составной колонны, защемленной нижним концом
и состоящей из двух
двутавров, расположенных на
расстоянии С
= 4 см, определить размеры поперечного сечения, если сжимающая нагрузка F = 500 кН, длина колонны l = 3 м, основное
допускаемое напряжение для материала колонны
=150 МПа (см. рис.1).

Рис.1
Рис.2
Решение.
Первая попытка. Принимаем
= 0,5. По формуле проектировочного расчета получим:

По сортаменту
ГОСТ 8239 – 89 принимаем двутавр № 24,
для которого А1
= 34,8 см2,
= 9,97 см,
= 2,37 см, b1 = 11,5 см.
Для
определения действительного значения
коэффициента
необходимо рассчитать гибкость
, зависящую от минимального радиуса инерции imin. Для определения imin
вычислим главные радиусы инерции и выберем из них наименьший (рис.2):
.
Таким
образом, видим, что
из сортамента.

Сравнивая значения
и
видим, что imin = iy = 8,10 см = 8,10×10-2м.
Тогда вычислим гибкость:
По таблице
коэффициентов
для стали Ст.3, используя метод линейной интерполяции, вычисляем
при
= 74:
,
где
= 0,81 при
= 70;
= 0,75 при
= 80.
Определяем:
![]()
Принимаем: ![]()
Вторая попытка. Вычисляем площадь поперечного сечения:

По сортаменту
подбираем двутавр № 20, для которого
А2 =
26,8 см2;
= 8,28 см,
= 2,07 см, , b2 = 10 см.
Минимальный
радиус инерции:
Гибкость
колонны:
Вычисляем коэффициент
при
= 823: ![]()
![]()
Принимаем:
![]()
Третья попытка. Вычисляем площадь поперечного сечения:

По сортаменту
подбираем двутавр № 18а, для которого
А2 =
25,4 см2;
= 7,51 см,
2,12 см, b3 = 10 см.
Минимальный
радиус инерции:

Гибкость
колонны: ![]()
Уточняем
коэффициент
при
= 82,1:
![]()
Тогда
![]()
Делаем еще
одну попытку, вычислив
по формуле:
![]()
Четвертая попытка. Вычисляем площадь
поперечного сечения:

По сортаменту
подбираем двутавр № 18, для которого
А2 =
23,4 см2;
7,42 см,
1,88 см, b4 = 9 см.
Минимальный
радиус инерции
![]()
Гибкость
колонны: ![]()
Коэффициент
при
= 88,6 равен: ![]()
Тогда
![]()
Вычисляем
рабочее напряжение:
Допускаемое
напряжение на устойчивость:
![]()
Перенапряжение
составляет:

Окончательно
принимаем для сечения колонны двутавр №18. Совместная работа составной колонны
из двух ветвей (двух двутавров) будет обеспечена лишь при надежном соединении с
помощью планок, приваренных к ним. Расстояния
(рис. 3) между
соединительными планками должны быть выбраны так, чтобы отдельная ветвь не
выпучилась в плоскости наименьшей жесткости. Это условие будет обеспечено, если
гибкость отдельной ветви на длине
будет не больше
гибкости всей колонны. Для практических расчетов гибкость отдельной ветви на
участках между планками принимают
.
Для двутавра
№18 минимальный радиус инерции
. Тогда
м.
В этом случае
длина колонны l = 3 м разделится планками
на четыре участка
(т = 4).
Из конструктивных соображений получим длину
планки (см. рис. 3):
![]()
Принимаем
высоту планки:
Толщину
планки tп возьмем
равной толщине полки двутавра t. В
нашем случае из
сортамента
.

Рис.3
С учетом
способа закрепления концов колонны и высоты планок Н = 20 см окончательно принимаем длину ветви при числе
участков т = 4:
Расчет
окончен.
email: KarimovI@rambler.ru
Адрес: Россия, 450071, г.Уфа, почтовый ящик 21
Теоретическая механика Строительная механика
Прикладная механика Детали машин Теория машин и механизмов